提高重症患者雾化吸入的有效性
雾化吸入疗法主要是通过雾化装置将药液分散成悬浮于气体中的细小雾滴或微粒以气雾状喷出,经鼻或口吸入呼吸道和(或)肺部,从而达到消炎除肿、解痉平喘、控制感染、稀化痰液、帮助祛痰等治疗作用。同时与口服、肌肉注射、静脉滴注等给药方式相比,该治疗方法具有药物直接作用于靶器官、起效迅速、疗效佳、全身不良反应少、操作简单、给药简便、安全有效、无需患者刻意配合等优势。因此该疗法的临床上应用十分广泛。
经查阅资料显示:一次性使用雾化装置的消耗量逐年上升,至2021年年消耗量已近1000万台。而在ICU重症患者中使用雾化器的比例高达95%,虽然市面上雾化器种类繁多,但在临床上以面罩式和口含式雾化器占比最大。
众所周知雾化器的使用为患者的治疗起到了至关重要的作用,但我们也必须承认经面罩雾化吸入治疗时,面罩松紧绳对皮肤有压力性损伤的危险,且面罩内易形成小雾滴给患者造成不适感,同时存在气管插管者无法使用,药液易倾倒的弊端。因此在重症患者中多采用口含式雾化吸入疗法,该方法可使药物直接经口吸入到达下呼吸道,提高肺内沉积率,但遗憾的是根据我科患者使用雾化器现状,发现所有昏迷患者、气管插管、气管切开患者及术后患者,在雾化过程中经常出现药液易倾倒,雾化无效等问题,从而导致护士必须多次给予调整,严重增加了护士的工作量。对这一现象,我们该如何解决呢?
追根究底,药液易倾倒主要是由于口含式雾化器缺少固定装置,于是魏红侠护士长带领我们以解放患者双手,提高患者舒适度,提高护士工作效率,减少药物的浪费,提高雾化吸入的有效性为目标开启头脑风暴。最终,我们以生活中常用的手机支架、台灯为灵感,决定设计一款多功能雾化器支架。
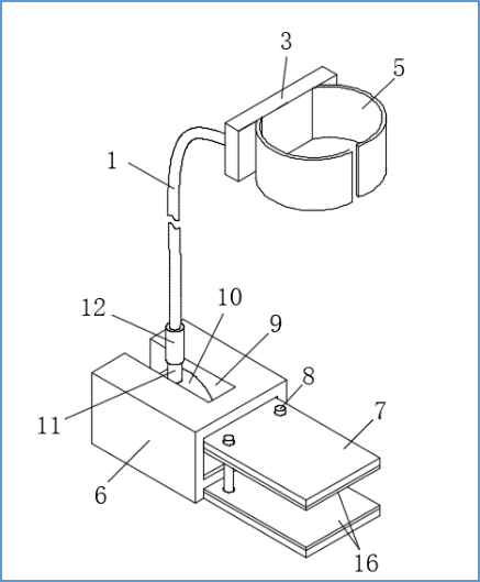
多功能雾化器支架主要由三部分组成,分别是雾化器固定装置、支架固定装置和连接装置,各模块由不同的零件组成,发挥着不同的作用,共同为口含式雾化器保驾护航。
在使用时,只需将雾化器固定在该支架的固定装置模块,然后将该支架固定在病床上,调整支架的连接装置,使患者能保证最佳使用姿势即可。该支架操作简单,灵活易用,但能解放患者的双手,保证有效给药,极大地降低了护士工作量的同时也提高了药物治疗效果。正所谓:小物件,大用途!
此项一次性雾化装置固定器已申请实用新型专利,在我院临床调研中也获得了患者、患者家属、临床护士以及医生们的一致好评。在此基础上,有望将此专利进行成果转化,收获一定的社会效益、经济效益。





